Spring Special Limited Time 70% Discount Offer - Ends in 0d 00h 00m 00s - Coupon code = getmirror
Pass the OMG Certification OMG-OCEB2-FUND100 Questions and answers with ExamsMirror
Exam OMG-OCEB2-FUND100 Premium Access
View all detail and faqs for the OMG-OCEB2-FUND100 exam
659 Students Passed
92% Average Score
97% Same Questions
Choose the correct answer:
What is a difference between a Choreography and a private Business Process?
Choose the correct answer:
Which aspect is within the scope for BPMN?
Choose the correct answer:
What is key to a consistent, proactive marketing strategy?
Choose the correct answer:
A large energy company is striving to be a process-driven organization and support lean and efficient operations.
Which BMM concept models this description?
According to James F. Chang in Business Process Management Systems, which statement is a BPM principle?
Choose the correct answer:
What is the function of a worklist handler in a BPMS?
Choose the correct answer:
In the BMM, a Business Rule is a component of which concept?
Choose the correct answer:
Why is Service Oriented Architecture (SOA) beneficial to BPM?
Choose the correct answer:
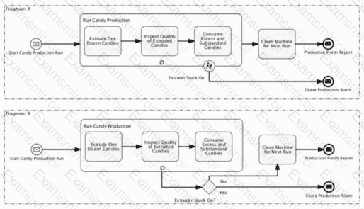
Which statement is true regarding the two diagram fragments?

Choose the correct answer:
According to the Business Motivation Model (BMM), what are the parts of a Mission statement?
TOP CODES
Top selling exam codes in the certification world, popular, in demand and updated to help you pass on the first try.